Патрубок інтеркулера ГАЗ 33104 Валдай, ГАЗ 3309 з дв. 544 ТУРБО (силікон D=50 мм, D=70 мм, L=75)
|
295 ₴
в наявності
|
- Виробник
- АВТО-СОЮЗ 88
- Каталожний номер
- 5441.1118783
- Схеми
- дивитися →
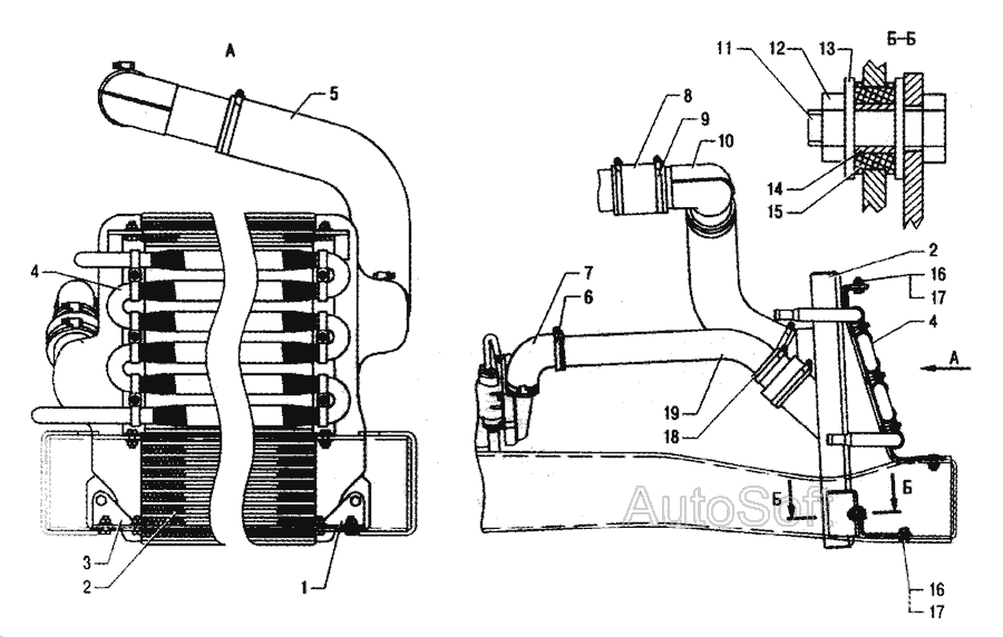
охолоджувача наддуву
Застосування
- Товар підходить до марок/моделей авто:
- - Грузовые авто: ГАЗ
- Товарна група:
- - Деталі двигуна Система охолодження
- - Деталі двигуна Система живлення
Разом купують:
175 ₴
в наявності
- Артикул:
- 51-2402052-Б4
- DETALKA
-
Україна
155 ₴
в наявності
- Артикул:
- 51-1701210
- DETALKA
-
Україна
Застосовність за схемами
|
Установка охолоджувача наддуву та масляного радіатора » Двигун
|
|
|
|
Фільтр повітряний двигун » Двигун
|
|
Каталог запчастин для автомобілів, до яких застосовується ця деталь
