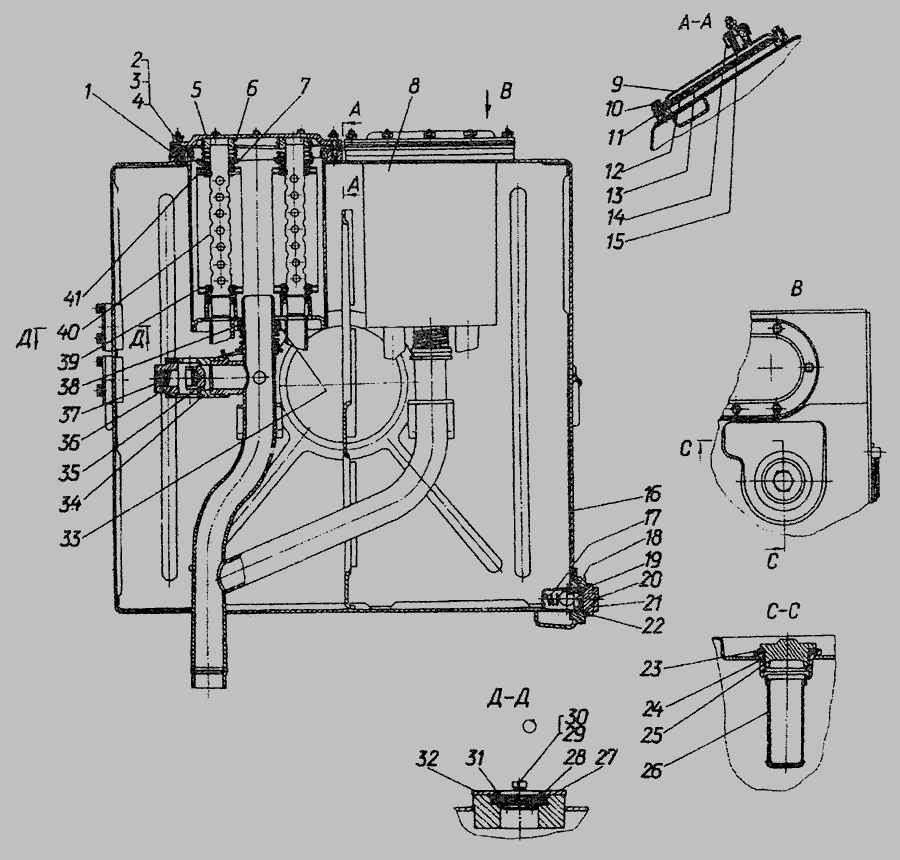
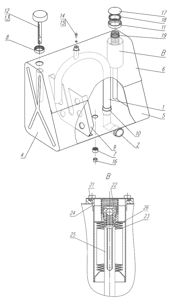
Элемент фильтрующий масляный КАМАЗ, МТЗ гидросистемы (сетка) (ЛААЗ)
Товара нет в наличии.
- Производитель
- Автоком г. Ливны
- Каталожный номер
- 54.57.020А
- Схемы
- смотреть →
для 5511-8608310, код МТЗ 80-1716080 для 5511-8608310 Элемент для фильтра 5511-8608310
D= 25х60мм
Применяемость
- Товар подходит к маркам/моделям авто:
- - Грузовые авто: КамАЗ
- - Трактора: МТЗ
- Товарная группа:
- - Доп. оборудование Навесное оборудование
- - Запчасти для ТО Фильтра
Применяемость по схемам
Показать еще схемы ↓
Каталог запчастей для автомобилей к которым применяется эта деталь
