Кран (клапан) слива конденсата М22х1,5 латунь (S.I.L.A. AC)
|
70 ₴
склад
|
- Производитель
- S.I.L.A.
- Каталожный номер
- 100.3513110
- Вес, кг:
- 0.100
- Размеры (ДxШxВ), см:
- 40.00 x 40.00 x 20.00
- Схемы
- смотреть →
11.3513110
Применяемость
- Товар подходит к маркам/моделям авто:
- - Грузовые авто: ГАЗ, ЗИЛ, КамАЗ
- Товарная группа:
- - Руль, тормоза Тормозная система
Вместе покупают:
170 ₴
в наличии
- Артикул:
- 406-1014076-10/02/03
- Дорожня карта
1 680 ₴
в наличии
- Артикул:
- 16.3514008
- Автокомпонент Плюс
120 ₴
в наличии
- Артикул:
- 740.1029240
- Альбион-Авто
-
Украина
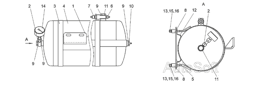
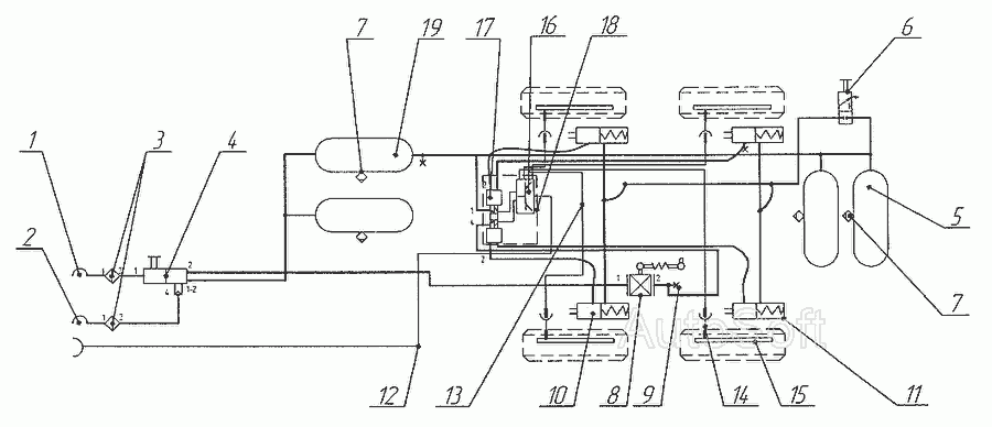
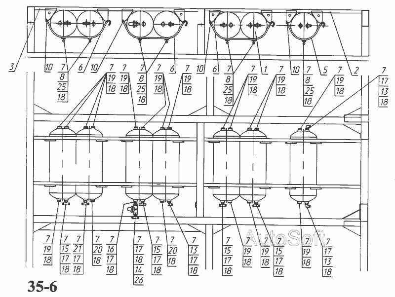
Применяемость по схемам
|
312-04-82.70.000 Пневмоуправление на ходовой раме » Ход пневмоколесный
|
|
|
|
Пневмосистема тормозов тягача 6442-3500003 » Управление рулевое
|
|
|
|
Схема пневмопривода тормозов » Управление рулевое (до 01.09.1998)
|
|
|
|
Пневмосистема » Управление
|
|
|
|
Пневмосистема » Управление погрузчика
|
|
|
|
Пневмосистема » Управление рулевое
|
|
|
|
Пневмосистема ТО-18Б2.18.00.000 » Управление рулевое
|
|
Показать еще схемы ↓
Каталог запчастей для автомобилей к которым применяется эта деталь
