Гайка М8х6.5 ВАЗ, КАМАЗ, УРАЛ висока
Товара нет в наличии.
- Производитель
- БелЗАН
- Каталожный номер
- 1/61008/11
- Схемы
- смотреть →
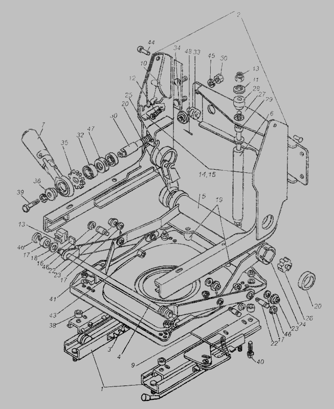
Применяемость по схемам
|
Двигатель с коробкой передач в сборе » Двигатель УЗАМ 331
|
|
|
|
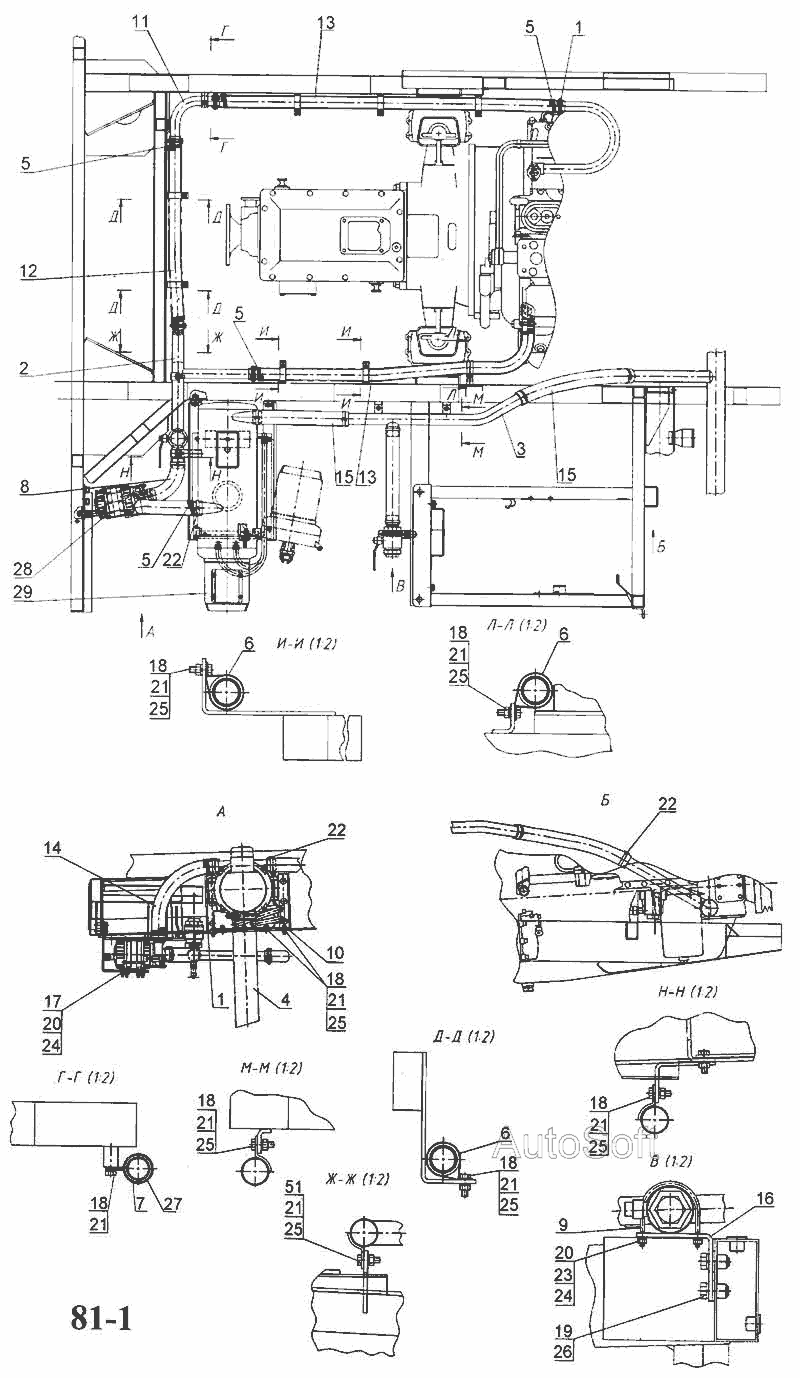
Двигатель с коробкой передач в сборе » Двигатель
|
|
|
|
Двигатель с коробкой передач в сборе » Двигатель УЗАМ 331
|
|
|
|
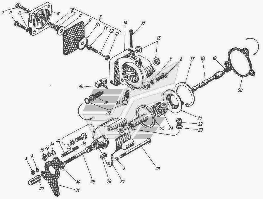
Двигатель мод. 2106 в сборе » Двигатель
|
|
|
|
Двигатель мод. 2106 в сборе » Двигатель мод. 2106
|
|
|
|
Капот, облицовка радиатора » Кузов
|
|
|
|
Капот, облицовка радиатора » Кузов
|
|
Показать еще схемы ↓
